本文涉及降低電腦機箱內溫度的裝置,特別是一種電腦機箱用的電腦散熱風扇裝置。
現有的電腦主機機箱主要采用散熱孔方式和風扇排風的方式對機箱進行散熱,以保證各電腦配件工作在一個適宜的低溫環境中。而上述這兩種散熱排放方式的工作效率比較低,往往不能滿足機箱散熱的需要。
實用型內容
本文的目的在于提供一種電腦機箱用的電腦散熱風扇裝置,主要解決現有散熱孔方式和風扇排風方式散熱效率低的技術問題,可充分利用機箱外的低溫空氣降低電腦機箱內的溫度。
為解決上述問題,本文是這樣實現的:
一種電腦機箱用的電腦散熱風扇裝置,其特征在于:它設置在電腦機箱面板上,在進、出氣路上依次具有濾網、電機控制的風扇,該氣路的風扇后還設有一由電機控制的渦輪增壓器。

所述的電腦機箱用的電腦散熱風扇裝置,其特征在于:該氣路的濾網與風扇之間還具有一金屬孔化過濾片。
所述的電腦機箱用的電腦散熱風扇裝置,其特征在于:該電機控制電路還包括電源和霍爾磁控開關。
藉由上述技術方案,本文的有益效果是:
本文裝置可充分利用電腦機箱外的低溫空氣降低機箱內的溫度。若結合現有的散熱孔結構和排氣風扇結構,可進一步提高電腦機箱的散熱效率。
附圖說明
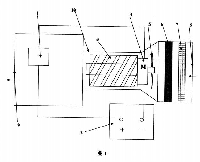
圖1是本文的結構示意圖。
圖中:
1一霍爾磁控開關;
2一電源;
3一渦輪增壓器;
4一電機;
5一風扇;
6一金屬孔化過濾片;
7一濾網孔;
8一進風口;
9一出風口;
10一殼體。
請參閱圖1,它是本文一種電腦機箱用的電腦散熱風扇裝置的結構示意圖。如圖所示:它設置在電腦機箱面板上,在進、出氣路上依次具有濾網7、電機4控制的風扇5,該氣路的風扇5后還設有一由電機4控制的渦輪增壓器3。該氣路的濾網7與風扇5之間還具有一金屬孔化過濾片6。該電機4控制電路還包括電源2和霍爾磁控開關1。
使用時,由渦輪增壓器8進行旋轉增壓,所增壓的機箱外的低溫空氣經過濾網和金屬孔化過濾片二級過濾,且增壓動作是在霍爾磁控開關控制為電機驅動渦輪達到。這樣,可以確保機箱外的低溫空氣,不斷進入電腦機箱,使箱內溫度降低。而且該濾網7和過濾片6可對進入機箱內的空氣進行過濾,避免灰塵進入。
另外,該裝置在安裝時若能與散熱孔或電腦散熱風扇保持在同一直線上,則散熱的效果更好。
綜上所述僅為本文的較佳實施例而已,并非用來限定本文的實施范圍。即凡依本文申請專利范圍的內容所作的等效變化與修飾,都應為本文的技術范疇。